1
/
von
5
Sicherheitstechnik
Hobelwellenschutz AHXT 650mm
Hobelwellenschutz AHXT 650mm
Normaler Preis
€702.10 EUR
Normaler Preis
Verkaufspreis
Stückpreis
/
pro
€702.10 EUR
Verfügbarkeit für Abholungen konnte nicht geladen werden
Die Lieferzeit beträgt ca. 1-2 Wochen!
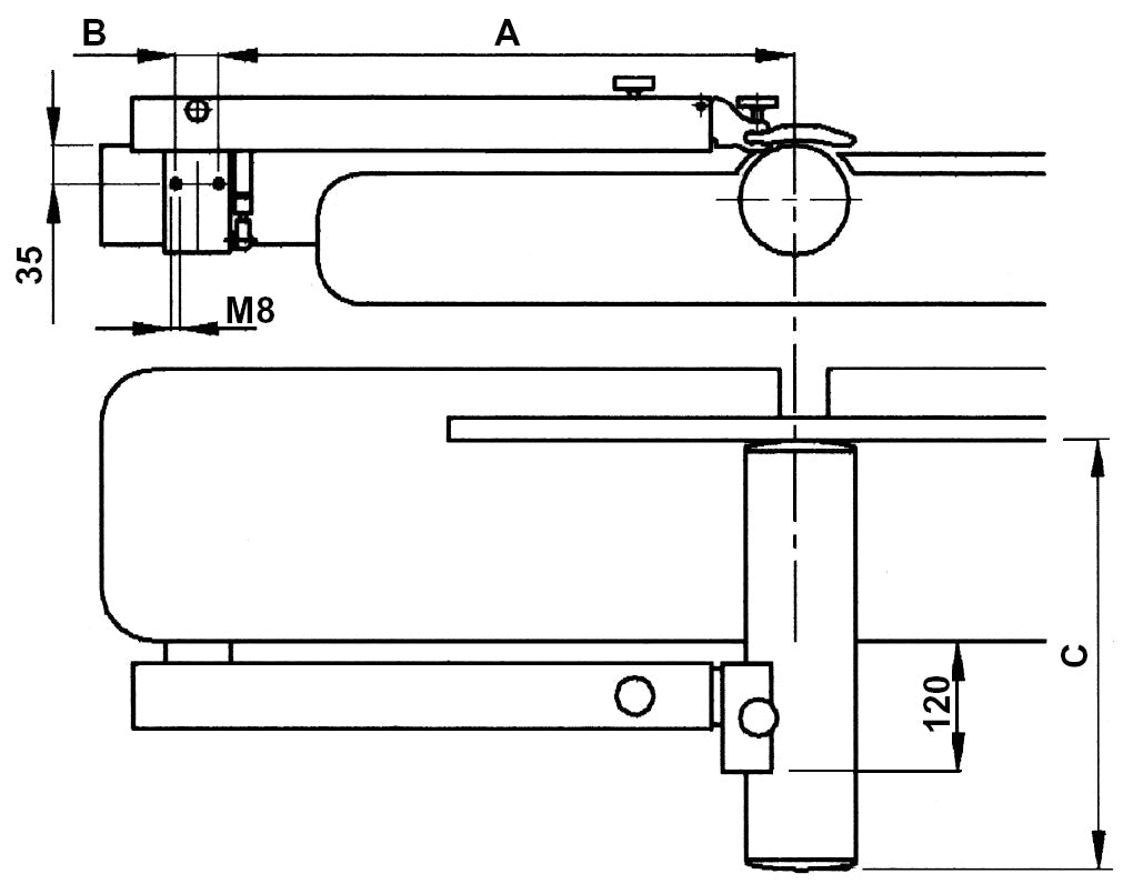
zum sicheren Arbeiten an Abrichthobelmaschinen
mit zweiteiliger, abklappbarer Wellenabdeckung
400+260 mm. Die Montage erfolgt stirnseitig am
Maschinentisch. Die Ausführungslänge bezieht sich
auf den Abstand zwischen Mitte Messerwelle bis
zur ersten Befestigungsbohrung (Maß A).
Teilen




